Schubstangenspannerspanner mit Befestigungsgewinde
Die optimalen Kraft- und Bewegungsverhältnisse und die leichte Handhabung zeichnen die Kniehebelspanner aus und ermöglichen eine vielseitige Anwendung in vielen Bereichen.
Die Kniehebelspanner werden z. B. in der Metallindustrie zum Spannen beim Bohren, Schweißen, Biegen, Schleifen, Prüfen und Montieren oder in der Holz- und Kunststoffbearbeitung in Leim-, Bohr-, Schneid- und Fräsvorrichtungen eingesetzt.
Das Kniehebelprinzip des Schnellspanners ermöglicht eine weite und schnelle Öffnung des Spanners. Im entspannten Zustand ist eine völlige Freilegung und ungehinderte Entnahme des Werkstückes gewährleistet. Die hohe Übersetzung bringt bei geringer Handkraft hohe Spannkräfte. Die Selbsthemmung in der Spannstellung verhindert das Öffnen des Spanners während der Bearbeitung.
Die Kniehebelspanner werden aus hochwertigen Komponenten gefertigt und sind für einen wartungsfreien Dauereinsatz ausgelegt.
Ein ölbeständiger ergonomischer 2-Komponenten-Handgriff, mit griffiger, weicher Oberfläche und großer Handauflage, ermöglicht einen hohen Bedienkomfort.
Die schnell verstellbaren Andrückschrauben sind mit einer Verliersicherung versehen.
- Spanner : Stahl, galvanisch verzinkt, passiviert
- Niete : Rostfreier Stahl, Stahl
- Griff : Kunststoff
- Andrückschraube : Stahl, vergütet, galvanisch verzinkt
- Gummikappe : Gummi
| Größe Size | Art.-Nr. | ![]() | ![]() | ![]() | ![]() | s3 min. | s3 max. | | Preis (EUR) | |
|---|---|---|---|---|---|---|---|---|---|---|
| 3 | 23330.2103 | 1.0 | 1.0 | 73 | 136.5 | 17 | 25 | M6 x 25 | 130 | 31,45 |
| 4 | 23330.2104 | 2.5 | 2.5 | 123 | 223 | 22 | 35 | M8 x 35 | 320 | 36,50 |
| 6 | 23330.2106 | 4.0 | 4.0 | 149 | 314 | 30 | 30 | M12 x 50 | 1200 | 58,55 |

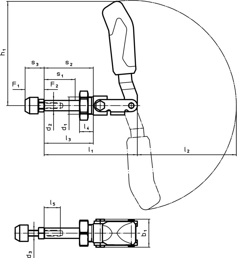
| Größe Size | Art.-Nr. | d1 | d2 | d3 | b1 | h1 | l1 | l2 | l3 | l4 | l5 | s1 | s2 | s3 min | s3 max |
|---|---|---|---|---|---|---|---|---|---|---|---|---|---|---|---|
| 3 | 23330.2103 | M16 x 1.5 | 10 | M6 | 30.5 | 73 | 68.5 | 68 | 36 | 13 | 15 | 21.5 | 36 | 17 | 25 |
| 4 | 23330.2104 | M20 x 1.5 | 12 | M8 | 33 | 123 | 108.0 | 115 | 57 | 16 | 25 | 40.0 | 57 | 22 | 35 |
| 6 | 23330.2106 | M24 x 1.5 | 16 | M12 | 49 | 149 | 175.0 | 139 | 92 | 24 | 45 | 67.0 | 92 | 30 | 50 |
M61-Schubstangenspanner
- mit Befestigungsgewinde
M61 Serie
zum stirnseitigen EinschraubenHaltekraft 1.0kN bis 4.0kN
Schubstangenspanner
- Einbauversion, ohne Fuß -
DST-362 Serie
Einschraubversion, optional mit WinkelHaltekraft 910N bis 3180N





